Опис
Синоптофор СИНФ-1 призначений для діагностики і лікування косоокості.
Використовується для визначення
об'єктивного і суб'єктивного кутів косоокості, стану кореспонденції
сітківок, здатності до бінокулярному злиття, фузійні резерви, наявності
або відсутності функціональної скотоми, наявності нефовеального злиття.
З допомогою синоптофора можна
проводити лікувальні ортопедичні вправи: усунення функціональної
скотоми, асиметричного бінокулярного зору, розвиток нормальної фузионной
здібності (бифовеального злиття, фузійні резерви), рухливості очей,
стабілізацію бінокулярного зору.
Синоптофор застосовується в очних
клініках, поліклініках та в кабінетах охорони зору дітей. Комплектується
двадцятьма парними об'єктами.
Характеристики:
|
Діапазон показань шкали горизонтальних кутів, град |
0±45 |
|
Діапазон показань шкали вертикальних кутів, срад |
0±10 |
|
Кут повороту кожної оптичної голівки при симетричних розворотах обох головок, град., у напрямку: |
сходження оптичних осей окулярів головок - не менше 45; розбіжності оптичних осей окулярів головок - не менш 25 |
|
Кут повороту оптичних головок при спільних односторонніх розворотах, град, не менше |
32 |
|
Поворот об'єктів щодо оптичної осі в обидві сторони від нуля, град, не менше |
15 |
|
Відстань між осями окулярів оптичних головок змінюється в межах, мм |
50-70 |
|
Збільшення оптичної системи, крат |
2 |
|
Частота спільних і роздільних автоматичних спалахів і коливань в 1 секунду в межах |
2-8 |
|
Живлення від мережі змінного струму напругою, В |
220±22 |
|
Споживана потужність, ВА, не більше |
30 |
|
Габаритні розміри, мм |
445x297x1377 |
|
Маса, кг, не більше |
синоптофора - 15; в повному компл. поставки - 18 |
Комплектація синоптофора СИНФ-1:
1. Прилад СИНФ-1 - 1 шт.
2. Дерев'яний Футляр з тест об'єктами – 1 шт.
всередині футляра тест об'єкти - 40 шт. (20 пар)
перелік тест об'єктів:
об'єкти на суміщення (6 пар) №4; №6; №7; №12; №14; №16 (рис.5)
об'єкти на злиття (12 пар) №1; №2; №3; №5; №8; №9; №10; №11; №15; №17; №18; №19 (рис. 4.1, рис. 4.2)
об'єкти для спостереження стереоскопічного блиску (1 пара) №13 (рис.5)
об'єкти контрольні (1 пара) №20 (рис.5)
3. Запасні частини та приладдя, що входять в комплект постачання:
лампа розжарювання мініатюрна МН26-0,12-1 - 10 шт
вставка плавка ВПТ6-1 - 4 шт.
серветка - 1 шт.
1. ПРИСТРІЙ І ПРИНЦИП РОБОТИ
Принцип роботи синоптофора заснований на
поділі полів зору. Парні об'єкти роздільно пред'являють обом очам і
встановлюють оптичні головки приладу так, щоб об'єкти розташовувалися по
зоровим лініях.
При паралельному положенні оптичних осей
синоптофора, у разі відсутності косоокості або гетерофорії,
малюнки зливаються.
При косоокості малюнки, що
пред'являються для кожного ока, видно роздільно і зливаються при
наявності у пацієнта здатності до бінокулярного злиття тільки при
повороті осей на відповідний кут.
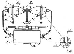
Синоптофор складається з основи 1
(рисунок 1), на якому укріплені дві оптичні головки 8. На основі
змонтовані всі вузли управління.
Панель управління з боку лікаря. Оптичні
головки обертанням рукоятки 2 можуть бути встановлені на задану міжзіничну відстань. Права і ліва оптичні головки можуть за допомогою
рукояток 3 повертатися в горизонтальному напрямку.
Кожна головка може бути зафіксована в
будь-якому місці шкали з допомогою фіксаторів 3 (малюнок 2). При
зафіксованому положенні головок обидві головки можуть спільно
переміщатися рукояткою 3 (див. рисунок 1), для чого необхідно попередньо
відвернути рукоятку 11.
Головки мають спеціальні касети 5, в які
встановлюються парні об'єкти 7. З допомогою рукояток 4 об'єкти можуть
переміщатися по вертикалі, а рукоятки 2 (малюнок 3) об'єкти можуть
повертатися.
Синоптофор комплектується двадцятьма
парними об'єктами, розрахованими на злиття (малюнки 4.1 і 4.2), на
суміщення і для спостереження стереоскопічного блиску і контролю
(малюнок 5).На кожному об'єкті вказано порядковий номер і літери «Л» -
лівий або «П» - правий. Об'єкти необхідно встановлювати в касети позначками назовні відповідно в ліву і праву касети щодо пацієнта.
Освітленість пропонованих об'єктів змінюється поворотом ручок регулювання яскравості ламп 6 (див. малюнок 2).
Необхідну частоту спалахів або коливань
отримують установкою ручки 7 проти відповідної цифри. Спільні або
роздільні коливання і миготіння об'єктів здійснюють установкою
перемикача 4 (див. малюнок 3) в положення СПІЛЬНО або РОЗДІЛЬНО.
Окремо для кожного об'єкта і спільно для обох об'єктів можуть бути здійснені:
- коливальний рух від руки натисканням кнопок 5 (див. малюнок 2) або автоматичне установкою перемикачів 4 до положення АВТОМАТ;
- миготливе світло від руки натисканням кнопок 1 або автоматичне установкою перемикачів 2 до положення АВТОМАТ.
Для того, щоб виключити одночасність
автоматичних коливань і миготінь, необхідно стежити, щоб при роботі
автоматом на МИГОТІННЯ перемикачі коливань 4 були встановлені в
положення ВІД РУКИ, а при роботі автоматом на КОЛИВАННЯ перемикачі
миготінь 2 повинні стояти в положенні ВІД РУКИ.
Установка окулярів на
міжзорову відстань проводиться обертанням рукоятки 2 (див. рисунок
1), при цьому рукоятка 11 повинна бути попередньо затиснута до упору.
Для фіксації голови хворого служать
підборідник 10 і налобник 9. Регулювання підборідника по висоті
проводиться обертанням рукоятки 3 (див. рисунок 3). Установка і фіксація
підборідника в горизонтальному напрямку проводиться гвинтом 1.

Малюнок 1 - Вид синоптофора з боку пацієнта
1 - основа; 2, 3, 4, 11 - рукоятка; 5 -
касета; 6 - патрон; 7 – об'єкт; 8 – оптичні головки; 9 - налобник; 10 –
підборідник; 12 – вставка плавка; 13 – рефлектор; 14 – гайка; 15 –
молочне скло

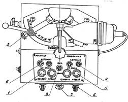
Малюнок 2 - Вид синоптофора з боку лікаря
1, 5 - кнопки; 2, 4, 8 - перемикачі; 3 - фіксатор; 6, 7 – ручки

Малюнок 3 - Вигляд збоку синоптофора
1 – гвинт; 2, 3 - рукоятка; 4 – перемикач

Рисунок 4.1 - Об'єкти на злиття

Малюнок 4.2 - Об'єкти на злиття

Малюнок 5 - Об'єкти на суміщення, для спостереження стереоскопічного блиску і для контролю
2. ПІДГОТОВКА ДО РОБОТИ
2.1 Дезінфекція
2.1.1 Продезінфікуйте зовнішні поверхні налобника 9.
(див. малюнок 1) і підборідника 10
тампоном, змоченим 3 % розчином перекису водню з додаванням 0,5 %
миючого засобу або 1 % розчином хлораміну. Тампон перед протиранням
повинен бути віджатий.
2.2 Перевірка правильності показань синоптофора
2.2.1 Перевірку слід проводити при
введенні в експлуатацію нового синоптофора, а також після тривалого
зберігання і в процесі експлуатації при появі сумнівів у правильності
показань синоптофора.
2.2.2 Увімкніть штепсельну вилку синоптофора в мережу.
2.2.3 Встановіть перемикачі 2 і 4 (див. малюнок 2) в положення ВІД РУКИ.
2.2.4 Встановіть рукоятками 3, 4 (див. малюнок 1) і 2 (див. малюнок 3) індекси всіх шкал в положення «0».
2.2.5 Встановіть рукояткою 2 (див.
малюнок 1) оптичні головки на міжзорову відстань, попередньо
затиснувши до упору рукоятку 11.
2.2.6 Відрегулюйте підборідник по висоті ручкою 3 (див. рисунок 3).
2.2.7 Встановіть підборідник в горизонтальному напрямку і зафіксуйте гвинтом 1.
2.2.8 Встановіть контрольні об'єкти № 20 (див. малюнок 5) у касети 5
(див. малюнок 1).
2.2.9 Увімкніть перемикач 8 (див. малюнок 2).
2.2.10 Ручками 6 встановіть необхідну яскравість.
2.2.11 Контрольні хрести, розглянуті
через окуляр приладу двома очима, повинні злитися в один. Якщо злиття не
відбулося по горизонталі, переміщують оптичні головки рукоятками 3
(див. рисунок 1), по вертикалі – обертають рукоятки 4, при розвороті
хрестів – обертають рукоятки 2
(див. малюнок 3) до отримання єдиного зображення контрольних хрестів. Потім беруть відлік по всіх шкалах синоптофора.
Відхилення індексів від положення «0» на шкалах горизонтальних кутів і кутів повороту може бути не більше ± 10, а на шкалах вертикальних кутів - не більш ± 2 срад.
Перевірка синоптофора повинна проводитися особами з нормальним зором.
2.3 Підготовка до проведення дослідження або тренувальних вправ
2.3.1 Проведіть підготовку у відповідності з 6.2.1 - 6.2.4.
2.3.2 На підборідник покладіть серветку (цигарковий папір).
2.3.3 Посадіть пацієнта на стілець перед
столиком з синоптофором так, щоб груди не упиралася у передню стінку
столу. Відрегулюйте підборідник по висоті ручкою 3 (див. рисунок 3) і в
горизонтальному положенні таким чином, щоб голова пацієнта перебувала в
зручному положенні і при цьому була добре зафіксована. Затисніть гвинт
1.
2.3.4 Установіть необхідні об'єкти.
2.3.5 Увімкніть перемикач 8 (див. малюнок 2).
3. ПОРЯДОК РОБОТИ
3.1 Визначення об'єктивного і суб'єктивного кутів косоокості
3.1.1 Для об'єктивного визначення кута
косоокості слід встановити в касети парні об'єкти на поєднання,
наприклад, «кружок» і «квадрат» (об'єкт № 7); дрібні об'єкти на злиття
«кульки з міткою» (об'єкт № 11); «кішка з хвостом» і «кішка з вухами»
(об'єкти № 15, № 17). Потім поперемінно вмикайте то правий, то лівий
об'єкт, натискаючи кнопки МИГОТІННЯ 1 (див. малюнок 2). При цьому
пацієнту пропонують по черзі фіксувати кожним оком відповідний об'єкт і
спостерігають за рухом очей пацієнта
Якщо під час поперемінного включення об'єктів очі пацієнта залишаються нерухомими, то косоокості немає.
При наявності косоокості спостерігається рух ока назовні або всередину. У цьому випадку, продовжуючи
поперемінно включати освітлення то правого, то лівого об'єктів, повільно
пересувають оптичні головки по горизонталі всередину або назовні до тих
пір, поки припиняться рухи очей. У цьому положенні головок
за шкалою горизонтальних кутів можна визначити величину об'єктивного
кута косоокості по горизонталі. Якщо при цьому одне око буде здійснювати
установчі рухи догори або донизу, то відповідним переміщенням об'єктів
рукоятки 4 (див. малюнок 1) до припинення руху очей визначають
об'єктивний кут косоокості по вертикалі.
Переміщення головок синоптофора виробляють непомітно для пацієнта (в момент вимкнення світла).
3.1.2 Для визначення суб'єктивного кута
косоокості включіть обидва об'єкта одночасно. Запропонуйте пацієнту
самостійно переміщати головки до тих пір, поки «гурток» не увійде в
«квадрат», або дві «кульки» з поміткою не зіллються в один з двома
мітками, або два об'єкта «кішка з хвостом» і «кішка з вухами» не
зіллються в одну фігурку з двома елементами контролю – «кішку з хвостом і
вухами».
При суміщенні зображень визначають величину суб'єктивного кута косоокості за шкалами синоптофора.
3.2 Визначення стану фузіонної здібності (біфовеального злиття, нефовеального злиття, фузійні резерви, функціональні скотоми)
Для визначення стану фузіонної здатності
застосовують об'єкти для злиття. При дослідженні сенсорного компонента
фузії використовують об'єкти № 11, № 15, № 17.
Якщо при почерговому включенні об'єктів
при даному положенні головок синоптофора очі не здійснюють настановних
рухів (положення об'єктивного кута косоокості) і при одночасному
включенні тих же об'єктів пацієнт бачить їх суміщеними або злитими
(положення суб'єктивного кута косоокості), то має місце біфовеальне
злиття (об'єктивний кут дорівнює суб'єктивному). Допустима різниця у
величині об'єктивного і суб'єктивного кутів від 20до 30. Чим дрібніше об'єкт, тим більше незначні зміни можна виявити (наприклад, невелику функціональну скотому).
Для визначення фузійних резервів
використовують об'єкти на злиття, наприклад, об'єкти № 11, № 17, № 2, №
3, № 8 або інші аналогічні об'єкти. Ставлять парні об'єкти в положення
кута злиття, потім повільно зводять оптичні головки приладу до носа (при
визначенні позитивних резервів) або розводять їх (при визначенні
негативних резервів) до моменту двоїння об'єкта. Пацієнту
попередньо пояснюють, що він повинен утримувати об'єкти злитими. Слід
пам'ятати, що чим більше розмір об'єктів, тим більше величина фузійних
резервів. Тому для порівняльної оцінки фузійних резервів в ході лікування
доцільно використовувати якийсь один об'єкт. Величина фузійних резервів на
об'єкті № 2 у середньому дорівнює: для позитивних 160 ± 180, для негативних 50± 20.
Вертикальні зорові резерви визначають аналогічним способом, але
переміщають об'єкти в касетах по вертикалі, наприклад, правий вгору
(лівий вниз) – для визначення правого супрафузійного резерву або лівий
вгору (правий вниз) – для визначення лівого супрафузійного резерву.
При визначенні здатності до
біфовеального злиття один з об'єктів може зникнути з поля зору або
з'явитися з іншого боку фіксованого об'єкта. У цьому випадку має місце
функціональна скотома. Зона, в межах якої один об'єкт не видно,
характеризує розмір скотоми в градусах (визначається по поділкам шкали
синоптофора).
При наявності нефовеального злиття кут
злиття (суб'єктивний кут) не дорівнює об'єктивному куту. Такий стан
зустрічається при наявності асиметричного бінокулярного зору (так звана
аномальна кореспонденція сітківок гармонійного типу). У таких випадках
злиття об'єктів відбувається при нульовому або близькому до нього (від 20 до30)
положенні об'єктів, досліджуваний при цьому косить і його об'єктивний
кут не дорівнює куту злиття. Як правило, при асиметричному
бінокулярному зорі об'єктивний кут буває невеликих розмірів (від 50 70), а зорові резерви обмежені.
3.3 Проведення лікувальних ортоптичних вправ.
Основне лікувальне призначення
синоптофора – усунення функціонального пригнічення (скотоми) і
відновлення нормальної фузіонної здібності, тобто біфовеального злиття і
фузійні резерви.
Для лікувальних цілей використовують об'єкти для злиття тим більшого розміру, чим більше розмір функціональної скотоми.
При призначенні лікувальних вправ
об'єкти встановлюють під об'єктивним кутом косоокості, закріплюють
фіксаторами 3 (див. рисунок 2).
Включають автоматичне миготливе
роздільне для кожного об'єкта освітлення, при цьому перемикачі 4 повинні
знаходитися в положенні ВІД РУКИ.
По мірі відновлення фузіонної здібності
призначають вправи на об'єктах меншого розміру, а також зменшують
частоту спалахів ручкою 7.
Для закріплення отриманих результатів
проводять вправи, при яких пацієнт повинен утримувати злитими коливні
об'єкти, встановлені під об'єктивним кутом косоокості. Коливання
об'єктів також проводять автоматично.
На курс лікування призначають від 20 до 30 вправ від 10 хв. до 15 хв. щодня або через день.
Розвиток фузійних резервів проводять також
на об'єктах злиття, починаючи з більш великих об'єктів, і поступово
переходять до об'єктів меншого розміру. Для розвитку горизонтальних
резервів використовують спочатку горизонтально спрямовані об'єкти (№ 5, №
19), для розвитку вертикальних резервів – вертикально спрямовані
об'єкти (№ 9, № 10), а потім призначають вправи і з іншими об'єктами.
Суть вправ зводиться до того, що пацієнт
повинен утримувати всі деталі загальної фігури злитими, в той час як
дослідник повільно розсовує (при розвитку негативних резервів) або
зрушує (при розвитку позитивних резервів) оптичні головки. Можна
використовувати після об'єктів для злиття об'єкт зі стереоскопічним
ефектом (№ 13).
Для розвитку рухливості очей
встановлюють будь-які об'єкти для злиття під суб'єктивним кутом
косоокості. Фіксують положення головок фіксаторами 3 і відвертають
рукоятку 11 (див. малюнок 1). Потім починають переміщати одночасно
обидві головки то в одну, то в іншу сторону, пропонуючи пацієнту
безперервно стежити за злитими деталями малюнка.
Описана методика не вичерпує всіх можливостей синоптофора і може в процесі роботи уточнюватися і доповнюватися.
|